# 主子模型场景
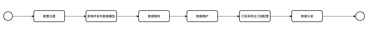
本文档介绍主子模型场景的使用和配置,整个使用场景包括了数据模型的配置、授权、流程配置,数据的维护、分发、采集、清洗,涵盖了主数据的整个管理过程。
# 模型设计
本文档以人员信息为示例,人员信息中包括人员的基本信息、工作信息、学历信息。其中,工作信息和学历信息,会有多条记录,因此使用子模型来维护。

下载示例模型:主子模型场景
# 操作流程
本文档涉及以下主要操作流程:
- 模型配置及数据维护

- 数据审批

- 数据采集及问题数据处理

- 数据清洗机问题数据处理

# 新增主题
使用管理员用户(admin)登录平台后,进入平台首页,点击上面导航栏中【管理门户】按钮,然后点击侧面菜单【模型管理】/【主数据】,进入模型管理页面:

点击选中根节点【模型主题】,点击【新建主题】按钮添加模型主题人事主题。

输入主题信息后,点击提交创建分类。
注:若该分类下还需添加其他子分类,只需要选中对应的分类然后点击新建主题即可。
# 模型配置
# 新增模型
在【主数据】菜单中选择负责的主题分类,右侧展示该分类下的模型列表:

点击右侧的【新增模型】按钮,进入【模型配置】导航页。
# 基本信息
新增模型第一步先配置模型【基本信息】,模型类型选择“普通模型”。

填写模型基本信息后,点击右下方的【下一步】按钮,即可进入【字段配置】页面。
# 字段配置
新增模型字段的方式有以下三种:
①直接新增字段。点击【新增字段】按钮,出现新的字段记录,以此配置字段。

②导入元标准。点击【导入元标准】按钮,选择元标准,导入字段。

③导入其他已发布模型的字段。点击【导入字段】按钮,选择已发布的模型,导入字段。

默认新增的字段都放到【基本属性】分组,提供字段分组功能,点击【新增分组】按钮创建新的分组:

可以对字段分组删除、排序,并通过拖动方式配置字段。
此外,还可以配置子模型,点击右上角的【新增子模型】按钮,可新增子模型:

新增子模型后(子模型可配置多个),可点击上方子模型对应的tab页,可对子模型进行字段配置,配置方式同主模型一致。

配置完字段信息后,点击【下一步】,进入【页面配置】环节。
# 页面配置
根据字段配置中的字段,将自动生成页面配置,如下图(子模型可通过切换tab页进行页面配置),可以在此基础上再做配置和调整。

在默认视图中点击右上角【视图设置】,点击【重置】按钮,可以初始化显示字段:

在快速筛选中,点击【通用筛选条件】,可配置页面业务字段筛选条件:

注意,编码字段需要在【自定义条件】中配置为筛选条件,比如【人员编码】字段设置为编码组件:

这种编码字段需要在【自定义条件】中配置为筛选条件:


配置完成后,如下图:

页面配置完成后,点击【下一步】,进入【约束配置】页面。
# 约束配置
约束配置主要配置模型的约束及校验条件,包括主键约束、唯一约束、校验约束。

配置完约束后,点击【下一步】,进入【编码规则】页面。
# 编码规则
使用编码规则可以帮助用户更便捷地在输入框中填入数据。
只有在【页面配置】中配置了编码字段,才会进入【编码规则】页面,否则直接跳过此步骤,配置编码字段如下图:

有编码字段,即可进入【编码规则】页面,选中左边的编码字段,在中间区域点击【新增】按钮可新增该字段的编码方案:

在右侧区域点击【新增】按钮可新增编码段:

配置完编码规则后,点击【下一步】,进入【模型概览】页面。
# 模型概览
【模型概览】页面以图形化的方式展现数据模型的分组及字段信息,如下:

最后点击【确定】按钮即可完成模型配置。
# 模型发布
模型配置完成后,在主页面点击【发布】按钮,发布模型。

# 授权管理
# 数据授权
点击【授权管理-数据授权】菜单,进入数据授权页面。

点击【新增授权】按钮,弹出新增授权弹框。选择授权的数据模型,角色以及数据权限和菜单功能权限。
- 数据权限:

- 菜单功能权限:

点击【提交】生成一条授权记录,拥有该权限的角色将可以看到授权的行列和菜单功能。
# 数据维护
点击上面导航栏中【业务门户】按钮,然后找到需要维护数据的模型,进入【数据维护】页面:

# 数据新增
点击【新增】按钮,弹出数据新增弹框:

填写数据后,点击【提交】即可成功新增数据,此时的数据为“编辑”状态。
# 数据生效
在数据列表页面,选择一条“编辑”状态的数据,点击右侧操作栏下的【生效】按钮,即可使数据生效,数据变为“生效”状态。

# 数据审批
主数据平台可以配置数据模型和数据维护审核流程,点击上面导航栏中【管理门户】按钮,进入【流程配置】/【流程绑定】页面:

点击【新增】按钮,配置模型绑定流程:

上面配置了【数据生效】的审核流程和相关审核人员,点击【确定】按钮保存。这就表示数据生效需要进入审批环节,审核通过后才能生效。
这样后面数据维护页面点击【生效】按钮后,数据状态将变为【生效待审批】:

审核人员登录账号后,在【管理门户】中进入【任务处理】菜单可查看需要审批的数据:

点击流程标题即可进入审批页面审批数据,审批通过后,数据将变为“生效”状态。
# 数据分发
# 数据订阅配置
点击【数据分发】/【订阅配置】菜单,进入页面点击【新增】按钮,进入数据订阅配置页面。
- 基本信息

- 行列权限

注:选择列数据将会被推送到订阅系统。
- 通知

注:通知邮箱和通知接口即为订阅系统配置的邮箱和接口,数据推送失败时,根据订阅系统的通知方式进行通知。
配置完后点击【提交】按钮生成一条订阅配置记录。
# 数据推送
在【业务门户】中进入对应的模型的【数据维护】页面,勾选“生效”状态的数据,点击【推送】按钮:

进入推送配置选择框,选择后点击【提交】按钮即可对数据进行推送。

注:订阅配置中的推送方式为“自动”或“实时”,此步骤非必要。
# 订阅日志查看
在【业务门户】中进入对应的模型【订阅日志】页面,可查看订阅日志的推送记录:

点击右侧【查看详情】按钮可查看推送详情:

若需重新发送,勾选需要重新发送的日志,点击【重发】,可对数据进行重新发送。

# 数据采集
主数据平台提供了数据采集能力,通过数据采集作业流将源表中的数据同步到对应数据模型表中,支持数据的全量同步和基于时间戳的增量同步。
全量同步:作业流执行时,会将源表数据全部同步到对应的数据模型表中,作业流配置中需要指定数据模型的业务主键字段,用于定位数据。
增量同步:作业流每次执行,会对比源表和模型表的的数据时间,把同步时间差范围内的数据同步到模型表,因此需要指定源表和模型表的时间字段。
# 数据准备
准备要采集的数据(数据源,数据库,表和数据),用来采集到模型表中。
# 新增作业流
以上面创建的人员模型为例,新增作业流。
在【管理门户】下进入【数据采集】/【作业流管理】菜单,点击【新增】按钮,填写作业流信息:

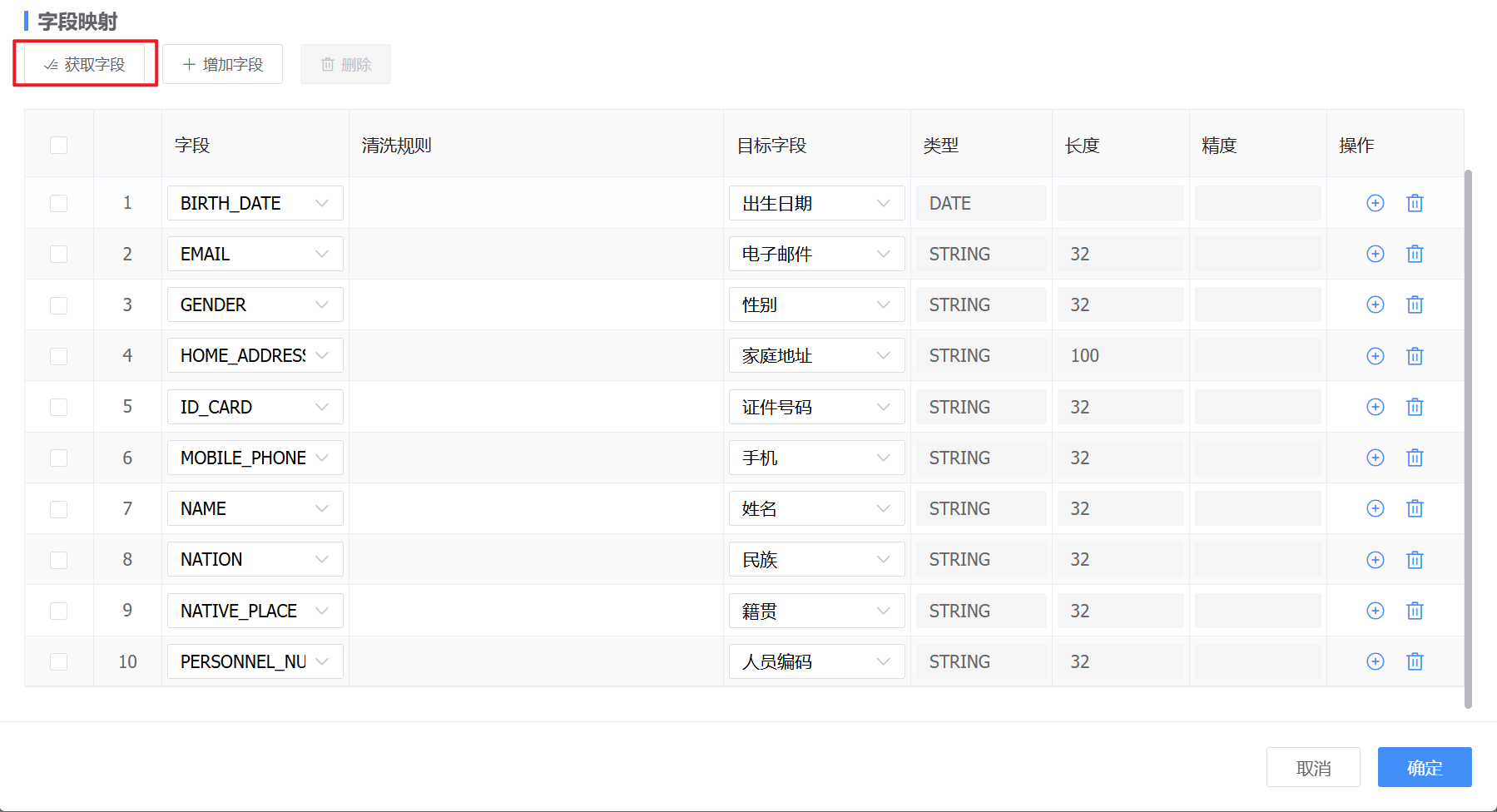
字段映射配置用于配置源表字段和模型表字段的对应关系,点击字段映射下方的【获取字段】按钮,配置字段映射信息:

点击字段右边操作栏的“+”按钮,可配置字段的清洗规则,对数据进行清洗转换。

配置完成后,点击【确定】按钮即可新增一条作业流记录。
# 上线作业流
在列表页面右侧点击【上线】按钮,使作业流上线,作业流状态变为“启用”。

# 执行作业流
在列表页面选中已上线的作业流,在右侧点击【运行】按钮,即可立即执行作业流,作业流状态变为“启用”。

# 作业流实例管理
作业流执行后,生成对应的作业流实例,可以在“作业流实例”标签页中查看。

点击【问题数据】按钮,可以查看采集失败的数据:

# 数据清洗
主数据平台提供了主数据的数据质量检核能力,通过配置检核任务和检核规则来检查有问题的数据。
# 新增检核任务
在【管理门户】中进入【数据清洗】/【核检任务】菜单,点击【新增】按钮进入新增核检任务页面:

填写信息后,点击【确定】按钮新增一条核检记录。
# 配置核检规则
在列表页面右侧操作栏中点击【配置规则按钮】按钮:

在规则配置页面点击【新增】按钮:

点击【确定】按钮即可新增一条核检规则。
# 执行核检任务
在核检任务列表页点击【执行】按钮,可立即执行一次核检任务:

# 查看检核结果
选择【数据清洗】/【核检结果】菜单,在检核结果列表中,可以查看及更新问题数据、查看规则详情、查看执行日志、查看历史记录。

选择对应的核检任务,点击【问题数据】按钮,可查看问题数据:

在问题数据页面选择一条问题数据,点击【更新数据】按钮,进入更新数据页面:

点击【确定】按钮,修改问题数据。
点击【生效】按钮,修改并生效问题数据。
# 问题数据处理
针对数据采集和数据检核过程中出现的问题数据,可以发起数据处理流程,指定员工处理问题数据。
# 数据采集问题
在【管理门户】下进入【问题处理】菜单,选择“数据采集结果”标签页,可查看数据采集过程中的问题数据。

选择一条有问题数据的作业流,点击操作栏中的【问题数据】按钮:

勾选未处理的问题数据,点击【发起数据处理流程】按钮,进入弹窗:

选择问题处理人,点击【确定】按钮即可发起数据处理流程。
问题处理人登录账号后,进入【任务处理】菜单查看待办任务:

点击流程标题进入流程页面,可查看待处理的问题数据详情:

处理完问题数据后,再进入流程页面,点击右上角的【提交】按钮结束流程。
# 数据检核问题
在【管理门户】下进入【问题处理】菜单,选择“数据检核结果”标签页,可查看数据检核过程中的问题数据。

选择一条有问题数据的核检任务,点击操作栏中的【问题数据】按钮:

勾选未处理的树问题数据,点击【发起数据处理流程】按钮,进入弹窗:

选择问题处理人,点击【确定】按钮即可发起数据处理流程。
问题处理人登录账号后,进入【任务处理】菜单查看待办任务:

点击流程标题进入流程页面,查看待处理的问题数据详情:

点击【更新数据】按钮,进入更新数据页面:

点击【确定】按钮,修改问题数据。
点击【生效】按钮,修改并生效问题数据。
更新完问题数据后,点击右上角的【提交】按钮即可结束流程。
