# 流程框架提供业务功能的操作手册
# 业务配置
# 流程属性
属性维护
- 功能描述
- 设置流程整体的属性信息,包括:流程定义名称、流程排序、流程图标、时间限制。
- 功能说明
- 功能入口为业务配置菜单中的当前应用下(例:EOS8-APP-DEMO)的报销申请流程。
![Entrance]()
- 功能入口为业务配置菜单中的当前应用下(例:EOS8-APP-DEMO)的报销申请流程。
业务属性配置
- 功能描述
- 流程定义名称:创建流程时生成的流程路径。
- 流程排序:设置当前流程在整个应用下所有流程的排序。
- 流程图标:可以在图标库中选择需要的图标作为本流程的图标。
- 时间限制:支持开启关闭,可以设置业务流程上线的时间段,超时将自动下线流程。

流程实例名配置
- 功能描述
- 设置流程实例名具体可包含的信息流程实例中可包含用户信息、流程信息、日期信息和业务数据。
- 可通过下拉选择和用户自定义输入进行组合,设置出自己需要的流程实例名。
- 功能说明
- 流程实例信息中用户信息可以设置用户ID、用户账号、用户真是姓名、用户所在部门ID、用户所在部门;
- 流程信息包括流程名称和发起环节名称;
- 日期信息包括当前日期的年月日、时分秒和年月日时分秒;
- 业务数据可以自行自定义设置出所需要的业务数据进行组合到流程实例中。
- 注意如不设置流程实例,流程实例的默认值为:${messageType}😒{processCreateName}发起的${processChName}流程
![exampleName]()
# 启动权限
启动维护
- 功能描述
- 用于配置流程中角色和人员的启动流程权限。
- 功能说明
- 该功能在业务配置菜单下,在相应的应用内的找到创建的流程,点击流程名称,右侧展示的启动权限页签中。
![permission]()
- 该功能在业务配置菜单下,在相应的应用内的找到创建的流程,点击流程名称,右侧展示的启动权限页签中。
添加权限
功能描述
- 可以给当前组织机构中的员工、某一机构下的所有员工、角色添加流程发起权限。
功能说明
- 点击当前页面的添加成员按钮,弹出添加成员页面,在上方可以选择添加成员的类型,有三种类型分别是员工、某一机构下的所有员工、角色,点击相应的页签,添加不同类型。
- 可在页面上搜索框中直接输入需要添加的成员姓名,进行检索,以便于快速添加成员,支持多个添加成员,确认后点击确定,即可给所选的全部成员添加流程启动权限。
![addpermission]()
删除权限
- 功能描述
- 可删除已给此流程绑定上权限的成员,支持批量删除。
- 功能说明
- 点击成员前选择框,批量勾选进行删除,也可点击成员后方的删除按钮进行单个删除。
![deletepermission]()
- 点击成员前选择框,批量勾选进行删除,也可点击成员后方的删除按钮进行单个删除。
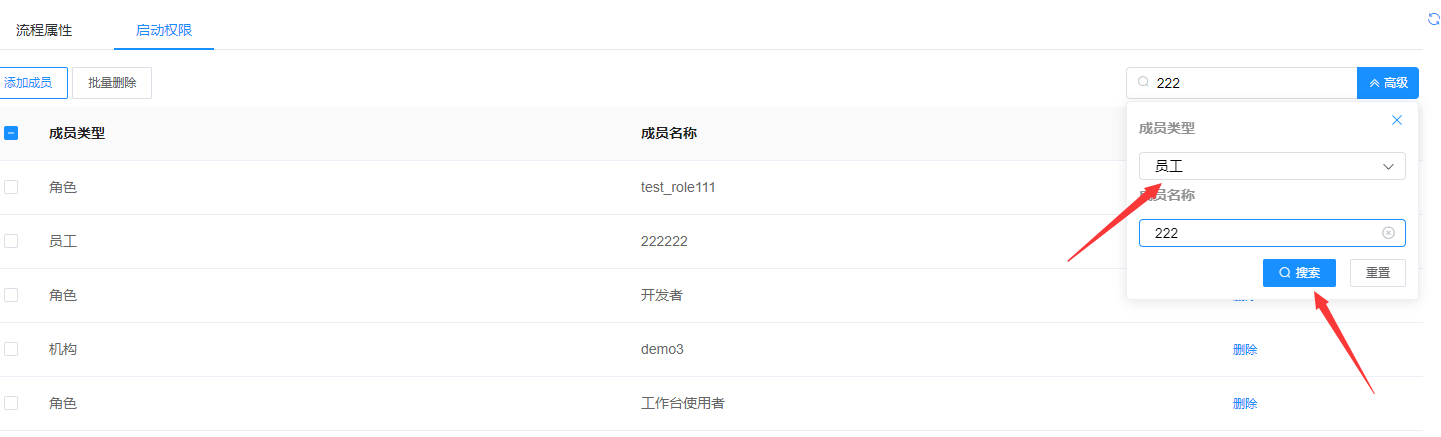
查询权限
- 功能描述
- 可查询当前流程下有启动权限的所有成员,支持按照名称模糊查询,成员类型筛选查询。
![querypermission]()
- 可查询当前流程下有启动权限的所有成员,支持按照名称模糊查询,成员类型筛选查询。
# 业务参数
功能描述
- 动态调整流程分支的条件值。
功能说明
- 在流程的属性配置页中配置流程参数,点击配置项配置参数的控件和默认值。
- 单选框控件可以使用字典项的作为备选项,也支持自定义备选项。
![0d010835-805a-4a26-a823-d846b187ed3a]()
- 新增参与者规则,使用配置的参数
![business_rule]()
![business_rule2]()
在条件分支中使用业务规则。
![business_condition2]()
![business_condition3]()
在流程中配置好后可以再AFCenter的工作流程配置中使用,根据业务修改业务参数的值。
![business_condition4]()
- 在流程的属性配置页中配置流程参数,点击配置项配置参数的控件和默认值。
# 撤回配置
功能描述
- 维护当前环节是否允许撤回及撤回条件。
功能说明
- 打开允许撤回按钮,当前环节允许撤回,撤回配置生效。下一环节任务工作项未完成是允许撤回。

任务完成后指定时间内允许撒回。
![recall_config2]()
下一环节任务工作项未打开时允许撇回。
![recall_config3]()
# 催办配置
功能描述
- 设置催办相关配置,可对已发起的流程进行催办操作。
功能说明
打开业务配置中人工活动,从第二个活动开始设置催办配置,打开允许催办开关,设置催办次数和通知配置。通知配置也需要打开开关启用才能使用,默认配置和自定义配置的选项来自于消息配置。
![press_config1]()
设置好流程的人工活动催办配置后,可以发起对应的流程来测试催办功能,提交流程即可。
![press_config2]()
![press_config3]()
在我的任务我的申请页面中,可以看到设置了催办的流程会有红色催办图标。
点击图标填写催办信息。
![press_config4]()
![press_config5]()
根据设置的催办次数来催办流程,次数用尽后,流程前面的图标消失。
![press_config6]()
在待办任务列表中,鼠标移动至催办信息图标上可展示催办的具体信息。
![press_config7]()
# 超时配置
功能描述
- 设置超时相关配置
功能说明
打开ide进入流程编辑器,选中活动添加时间限制,保存流程。
![timeout1]()
进入业务配置,选中时间限制对应的流程活动,此时会出现超时提醒tab页。进入超时提醒页面,勾选启用并选择系统配置或者自定义配置。默认配置和自定义配置的选项均来自于消息配置。
![timeou2]()
![timeout3]()
超时提醒设置的时间到期之后,会根据业务配置中的消息渠道(邮件、企业微信、钉钉)和下拉选框中的消息模板来发送对应的消息。
# 按钮授权
按钮维护
功能描述
- 流程环节中各种按钮的配置和使用。
功能说明
工作流程的业务配置菜单中,点击当前应用下用户创建的流程,展开树形结构。
点开版本号的子节点展示数据为各个流程环节,点击任一环节,即可进入到按钮配置页面。
![button]()
版本号说明
在业务配置目录找到当前应用下,用户发布的流程,左侧树结构中第一子节点上标注为版本号。
点击版本号会在右侧展示整个业务流程的流程图,点击流程图中的任意环节,即可跳转到相应流程环节的具体的按钮配置页面。
![version]()
![jump]()
按钮显隐
- 功能描述
- 此功能为设置流程某一具体环节的按钮展示或者隐藏。
- 功能说明
- 进入到流程环节的按钮编辑页面,点击按钮文字前方的按钮,按钮呈蓝色则代表展示,按钮为灰色则为隐藏。
![buttonHide]()
- 进入到流程环节的按钮编辑页面,点击按钮文字前方的按钮,按钮呈蓝色则代表展示,按钮为灰色则为隐藏。
按钮排序
- 功能说明
- 流程环节内按钮排序支持调整,在流程环节配置页面,如需调整按钮顺序,即可通过拖拽改变按钮显示位置
- 点击保存按钮,即可在对应流程表单页面展示出相应顺序的按钮。
按钮动作
提交按钮
![submit]()
首先基本信息中提交按钮名称是可以根据用户需求自定义修改的;其次保存数据按钮的含义为保存流程表单中的业务数据,具体业务数据示例参考下图:
![businessData]()
提交策略这栏中,制定后续环节选项点开后,在当前环节提交时,可以选择提交到后续制定环节中。指定后续参与者按钮,按钮为制定下一环节审批人信息,有4个选项:所有人、当前用户所在部门及其子部门、指定参与者和下一环节列表四个选项;首先所有人就是当前用户信息列表中所有用户都可以审批,其次当前用户所在部门及其子部门就是用户所属的部门和下属部门中的所有人员都可以进行审批。
![Strategy]()
当选择指定后续环节后,并未勾选指定后续环节参与者,则在相应流程环节的提交页面不可选择具体的人员信息。
当指定后续环节未勾选,并勾选置顶后续环节参与者,在相应流程环节的提交页面只可选择参与者信息,不可勾选流程环节信息。
![choosefalse3]()
指定参与者就是在所有人员列表中选择特定的人员来进行审批,最后下一环节列表就是在下一个流程环节中所有的审批人员列表中挑选人员进行审批,具体人员列表在eos流程图中下一环节进行选择。
抄送按钮打开后,就会将当前环节审批结果以及业务表单信息抄送给指定人员,选项有所有人、当前用户所在部门及其子部门、制定参与者。首先所有人就是当前用户信息列表中所有用户进行抄送,其次当前用户所在部门及其子部门就是用户所属的部门和下属部门中的所有人员都进行抄送,然后制定参与者就是在所有人员列表中选择特定的人员进行抄送。
暂存按钮
- 功能说明
- 暂存功能就是将当前业务表单数据存储到我的草稿箱中,暂时保存。
- 功能说明
回退按钮
功能描述
- 回退操作是,将当前流程回退到之前的流程环节去。
功能说明
首先基本信息中心中按钮名称是可以根据用户需求自定义修改的,保存数据按钮的含义为保存流程表单中的业务数据。其次回退策略中有回退规则和回退后的提交策略。
回退规则有:回退到任一环节、回退到发起人、回退到上一步人工环节、回退到制定环节。
首先回退到任一环节为当前环节点击回退按钮后可在页面弹框中选择回退到哪一环节。其次回退到发起人为回退到流程发起人环节,最后回退到指定环节为在下拉框中选择指定的流程环节进行回退操作。
回退后的策略有两种:1为原路径提交,即返回原来的提交路径,重新填写表单信息进行提交。2为跳转提交,重新填写号表单信息后提交到流程中某一特定的环节。
![fallback2]()
终止按钮
- 功能说明
- 终止按钮为终止当前流程操作,基本信息中提交按钮名称是可以根据用户需求自定义修改的。
- 保存数据按钮的含义为保存流程表单中的业务数据。
![shutdown]()
- 功能说明
转交按钮
- 功能说明
- 转交按钮为当前流程审批中,因其他原因需要转交给组织成员中其他人进行审批的操作,基本信息中提交按钮名称是可以根据用户需求自定义修改的。
- 转交策略可以选择参与者范围:所有人、当前用户所在部门及其子部门、指定参与者。
- 首先所有人就是当前用户信息列表中所有用户都可以选择转交操作,其次当前用户所在部门及其子部门就是用户所属的部门和下属部门中的所有人员都可以选择转交操作,然后制定参与者就是在所有人员列表中选择特定的人员进行转交操作。
![choose]()
- 功能说明
协办按钮
- 功能描述
- 协办为当前流程审批环节中,需要选择特定的人员进行协助审批。
- 功能说明
- 基本信息中提交按钮名称是可以根据用户需求自定义修改的。
- 协办策略可以选择参与者范围:所有人、当前用户所在部门及其子部门、指定参与者。
- 首先所有人就是当前用户信息列表中所有用户都可以选择协办操作,其次当前用户所在部门及其子部门就是用户所属的部门和下属部门中的所有人员都可以选择协办操作,然后制定参与者就是在所有人员列表中选择特定的人员进行协办操作。
![choose]()
- 功能描述
加签按钮
- 功能描述
- 加签为在当前环节增加一名或多个人员进行审批操作。
- 功能说明
- 基本信息中提交按钮名称是可以根据用户需求自定义修改的。
- 加签策略可以选择参与者范围:所有人、当前用户所在部门及其子部门、指定参与者。
- 首先所有人就是当前用户信息列表中所有用户都可以选择加签操作,其次当前用户所在部门及其子部门就是用户所属的部门和下属部门中的所有人员都可以选择加签操作,然后制定参与者就是在所有人员列表中选择特定的人员进行加签操作。
![choose]()
- 功能描述
特殊说明
流程发起和回退
- 初始流程环节中包括3中情景:流程第一次发起、流程回退到发起环节、流程指定到发起环节。
流程第一次发起时,所有的配置按钮虽然展示,但是默认配置不生效,只有提交和暂存按钮生效。
- 在流程回退到发起环节和流程指定到发起环节,其余按钮配置生效。
按钮复制
- 对提交按钮进行复制,根据业务需求添加参数,实现自定义按钮的功能。

流程相关数据中获取按钮参数数据方式:__task_submit_data-加activityDefID为key值获取到该活动节点中所有任务提交参数数据(processInstID、workItemId、参数)
![1681194763304]()
# 参与者
参与者维护
功能描述
- 选择流程中需要审批活动的参与者人员列表。
功能说明
设置参与者从业务配置菜单下,点击相关应用下的流程,选择流程环节,打开右侧页面,选择参与者页签,即可进入到参与者设置页面。
![person]()
- 指定参与者:点击添加按钮即可选择当前流程环节指定的参与者信息,从中选择需要的参与者。
<img src="./imgs/fore-endAPI/choose.png" alt="choose" style="zoom: 80%;" /> - 选择业务规则:选择此项后,点开下拉框可根据业务需求,从规则列表中选择对应自己业务的规则。
![ruler]()

- 指定参与者:点击添加按钮即可选择当前流程环节指定的参与者信息,从中选择需要的参与者。
# 动态参与者
# 后续环节单独配置环节参与者

| 配置 | |
|---|---|
| 是否默认 | 是否使用环节全局配置 |
| 指定后续环节参与者 | 是否指定后续环节参与者 |
| 参与者单选 | 是否启用参与者单选 |
| 参与者范围 | 环节参与者候选来源 |

# 表单中配置流程参与者
rule部分的数据可以通过查看配置的保存接口快速生成
// 活动定义的id可以在流程设计页面找到
// 根据不同的活动环节返回指定的环节配置
if (processContext.activityDefID == "manualActivity1") {
return {
"destActivity": false,//指定活动环节
"destActivitySingle": false,// 活动环节是否单选
"links": [// 后续环节配置
{
"id": "",//后续环节id
"useLinkData": false,//是否使用流程配置的环节设置
"rule": {
"destActivityParticipant": true,//指定活动参与者
"destParticipants": [//指定的参与者
{
"id": "27",
"name": "test5",
"typeCode": "emp"
},
{
"id": "25",
"name": "yuan",
"typeCode": "emp"
}
],
"participantScope": "dest",//参与者范围
"participantSingle": true,// 参与者是否单选
"defaultGlobal": false// 使用全局配置
}
}
]
}
}
# 任务通知
功能描述
- 维护任务通知。
功能说明
根据功能说明配置消息后在流程设计中配置即可
![1689911366074]()































当指定后续环节未勾选,并勾选置顶后续环节参与者,在相应流程环节的提交页面只可选择参与者信息,不可勾选流程环节信息。







