2.3.6.2 iOS项目打包配置

这里以dev环境为例

打开打包配置向导页面

1 运行调试服务,执行

pmobile start

2 打开打包配置向导页面,执行

pmobile config app dev

运行成功后会主动调起打开浏览器

安装证书和描述文件

ios打包之前,证书和描述文件(mobileprovision)需要事先安装在mac上,双击安装即可

ios打包配置


描述
Bundle ID iOS应用的唯一标识,可从描述文件中的AppId里获取(见下图)
介质介绍 应用类型是app-store版本还是企业版本,ad-hoc版本
描述文件 缀为.mobileprovision的应用描述文件。从苹果开发账号的证书及描述文件管理中下载。下载后双击进行安装。
开发团队ID 苹果开发账号的团队ID,可从描述文件中的Team里获取(见下图)
证书 iOS的签名证书的SHA1。从苹果开发账号的证书及描述文件管理中下载。下载后双击进行安装,安装后显示在钥匙串中,右键查看简介,获取证书的SHA1(见下图)
图标及启动图 配置app的桌面图标和app启动图 (注意图片格式和大小,不能有图层)
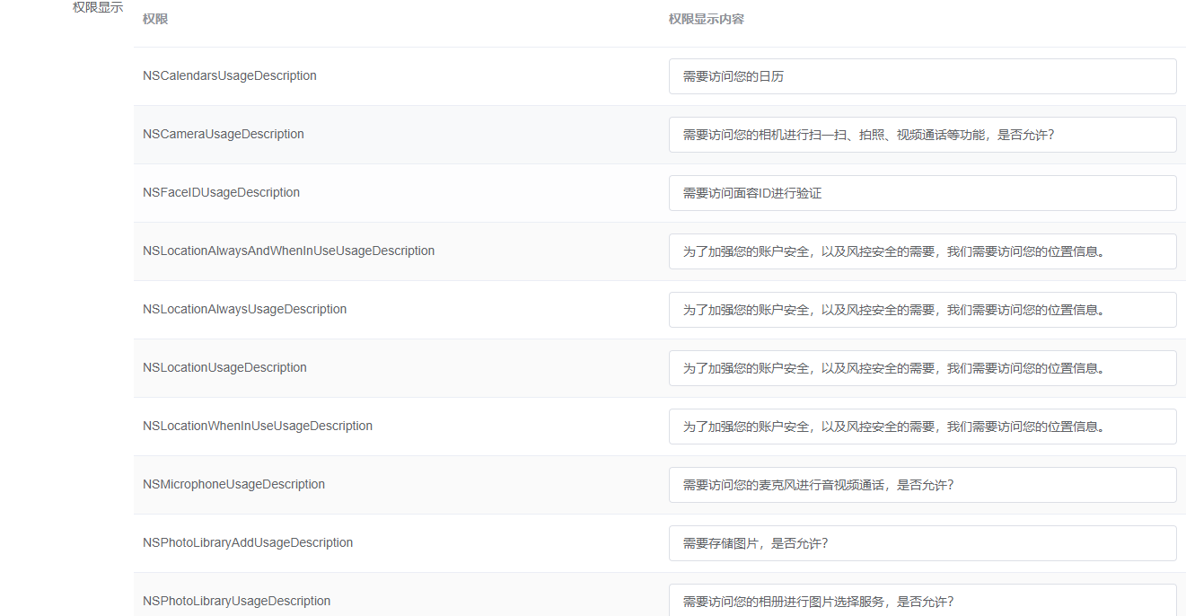
权限显示 配置ios功能权限提示内容

配置完成之后点击保存即可。

该文件修订时间: 2021-01-14 15:02:10

results matching ""

    No results matching ""