普元数据开发平台 普元数据开发平台
产品介绍
安装部署
快速入门
操作指南
应用集成
运维指南
  • 投产记录
  • 投产记录明细
  • 查看明细
  • 投产回退

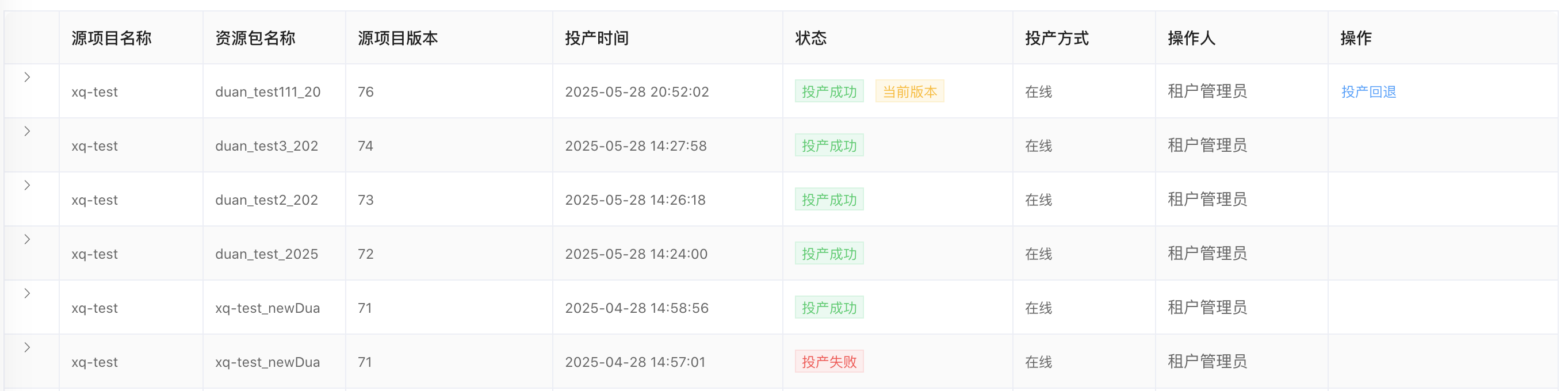
# 投产记录

投产记录提供如下功能:

  • 以列表方式查看项目的所有投产操作记录;
  • 可以查看每项投产操作的投产结果状态、投产明细及导出投产明细为 Excel;
  • 可以将投产版本进行回退操作。

点击项目卡片的【项目投产】按钮,选择弹出菜单的【投产记录】。

publish

# 投产记录明细

publish

# 查看明细

点击"状态"列的色块,比如:投产部分成功,弹出"投产明细"页面,可以看到整个投产内容及结果。

publish

publish

# 投产回退

点击"操作"列的【投产回退】可以撤销本次投产操作,回退到上一次投产成功的状态。

publish

← 离线投产 作业流监控 →